lisahost(丽萨主机)越南双ISP住宅原生家宽VPS测评分享

lisahost(丽萨主机)新上越南双ISP原生家宽住宅IP VPS服务器,独家小众越南西贡邮电宽带运营商IP段,默认一个IPv4(双ISP属性)+5个原生IPv6,国际线路,高质量双ISP住宅家宽纯净IP, 解锁越南本土服务和流媒体, Netflix, Youtube Premium, INS,FB营销,WhatsApp营销等。这篇文章就来测评分享该商家的越南VPS的测评数据~~

丽萨主机,双ISP住宅VPS 9折,54元月起,5Gbps超大带宽/三网4837大陆优化线路/全新双ISP住宅IP段

 

 

1、官网

官方网站:https://lisahost.com/

 

 

2、越南住宅双ISP属性IP的VPS

越南西贡邮电SPT,默认一个IPv4(双ISP属性)+5个原生IPv6

9折优惠码 :TS-CBP205DQJE

CPU 内存 NVMe 带宽/月流量 价格 购买
1核 1G 20G 100M/3T 88元/月 链接
2核 2G 40G 150M/6T 129元/月 链接
4核 4G 80G 200M/20T 599元/月 链接
2核 2G 40G 100M/不限 899元/月 链接
4核 4G 80G 200M/不限 1899元/月 链接
1核 1G 10G 100M/1T 699元/年 链接

 

3、基本参数

CPU E5-2686 v4 @ 2.30GHz,磁盘IO当前测试大致为592.7 MB/s,越南原生IP,不支持ipv6

CPU Model          : Intel(R) Xeon(R) CPU E5-2686 v4 @ 2.30GHz
 CPU Cores          : 4 @ 2299.996 MHz
 CPU Cache          : 46080 KB
 AES-NI             : ✓ Enabled
 VM-x/AMD-V         : ✓ Enabled
 Total Disk         : 78.7 GB (1.2 GB Used)
 Total Mem          : 3.8 GB (85.1 MB Used)
 System uptime      : 0 days, 20 hour 41 min
 Load average       : 0.00, 0.00, 0.00
 OS                 : Debian GNU/Linux 11
 Arch               : x86_64 (64 Bit)
 Kernel             : 5.10.0-11-cloud-amd64
 TCP CC             : bbr
 Virtualization     : KVM
 IPv4/IPv6          : ✓ Online / ✗ Offline
 Organization       : AS7602 Sai gon Postel Corporation
 Location           : Ho Chi Minh City / VN
 Region             : Ho Chi Minh City (HCMC)
----------------------------------------------------------------------
 I/O Speed(1st run) : 581 MB/s
 I/O Speed(2nd run) : 575 MB/s
 I/O Speed(3rd run) : 622 MB/s
 I/O Speed(average) : 592.7 MB/s
----------------------------------------------------------------------
 Node Name        Upload Speed      Download Speed      Latency     
 Speedtest.net    189.57 Mbps       190.02 Mbps         11.52 ms    
 Paris, FR        172.90 Mbps       215.30 Mbps         214.62 ms   
 Hong Kong, CN    191.01 Mbps       190.64 Mbps         37.84 ms    
 Singapore, SG    189.84 Mbps       191.41 Mbps         63.18 ms    
 Tokyo, JP        188.54 Mbps       8.43 Mbps           101.21 ms   
----------------------------------------------------------------------

4、IP测试

流媒体:

流媒体:

IP质量测试:

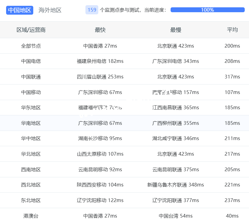
5、网络测试

测速:

网络质量测试:

ping检测:

 

 

6、路由

北京三网回程:

  北京 电信    VNPT -> 163  
地理路径:越南 -> 香港 -> 北京    自治系统路径:AS45899 -> AS23764 -> AS4134 -> AS4847 
 2       1.12ms  10.132.*.*                               * RFC1918
 3-5     1.08ms  203.162.*.*  AS45899   [VNPT-VN]         越南 河内市 vnpt.vn
 6      25.27ms  113.171.*.*  AS45899   [VNPT-VN]         越南 岘港市 vnpt.vn
 7      28.06ms  113.171.*.*  AS45899   [VNPT-VN]         中国 香港 vnpt.vn
 9      28.25ms  69.194.*.*   AS23764                     * 中国 香港 电信/CTGNet
10     175.34ms  203.22.*.*   AS23764   [CTG-CN]          * 中国 香港 163-CTG CTGNet
13-14  197.36ms  202.97.*.*   AS4134    [CHINANET-BB]     中国 北京 chinatelecom.com.cn 电信
16     258.52ms  219.141.*.*  AS4847    [CHINATELECOM-BJ] 中国 北京 bj.189.cn
17     198.59ms  36.112.*.*   AS4847                      中国 北京 bj.189.cn
18     225.46ms  219.141.*.*  AS4847    [CHINATELECOM-BJ] 中国 北京 bj.189.cn
  北京 联通    Cogent -> NoData  
地理路径:越南 -> 印度 -> 美国 -> 北京    自治系统路径:AS45899 -> AS9498 -> AS174 -> AS4808 
 2       0.87ms  10.132.*.*                               * RFC1918
 3-5     1.01ms  203.162.*.*  AS45899   [VNPT-VN]         越南 河内市 vnpt.vn
 6      25.38ms  113.171.*.*  AS45899   [VNPT-VN]         越南 奠边省 vnpt.vn
 7-8    34.51ms  128.185.*.*  AS9498                      印度 Airtel.in
 9-14  207.26ms  154.54.*.*   AS174     [COGENT-BONE]     美国 加利福尼亚 洛杉矶 cogentco.com
15-16  181.89ms  38.120.*.*   AS174                       美国 加利福尼亚 圣何塞 cogentco.com
18     396.10ms  61.148.*.*   AS4808    [UNICOM-CN]       中国 北京 北京 www.bbn.com.cn
19-20  390.43ms  61.51.*.*    AS4808                      中国 北京市 延庆 www.bbn.com.cn 联通
22     391.96ms  221.222.*.*  AS4808    [UNICOM-BJ]       中国 北京 海淀 www.bbn.com.cn
  北京 移动    VNPT -> 163  
地理路径:越南 -> 香港 -> 北京    自治系统路径:AS45899 -> AS23764 -> AS4134 -> AS56048 
 2       2.26ms  10.132.*.*                               * RFC1918
 3       1.18ms  14.238.*.*   AS45899                     越南 河内市 vnpt.vn
 4      41.64ms  113.171.*.*  AS45899   [VNPT-VN]         越南 岘港市 vnpt.vn
 5       1.88ms  113.171.*.*  AS45899   [VNPT-VN]         越南 河内 河内市 vnpt.vn
 7-8    27.27ms  113.171.*.*  AS45899   [VNPT-VN]         中国 香港 vnpt.vn
 9-10   37.41ms  69.194.*.*   AS23764                     * 中国 香港 电信/CTGNet
11     170.43ms  203.22.*.*   AS23764   [CTG-CN]          * 中国 香港 163-CTG CTGNet
12-14  194.45ms  202.97.*.*   AS4134    [CHINANET-BB]     中国 北京 X-I chinatelecom.com.cn 电信
18-22  101.78ms  211.136.*.*  AS56048   [CMNET]           中国 北京 bj.10086.cn 移动
23      90.23ms  211.136.*.*  AS56048   [CMNET]           中国 北京 bj.10086.cn 移动

上海三网回程:

 上海 电信    VNPT -> 163  
地理路径:越南 -> 香港 -> 上海    自治系统路径:AS45899 -> AS23764 -> AS4134 -> AS4812 
 2       1.16ms  10.132.*.*                               * RFC1918
 3       0.90ms  222.255.*.*  AS45899   [VDC-NET]         越南 河内市 vnpt.vn
 4      31.91ms  113.171.*.*  AS45899   [VNPT-VN]         越南 河内市 vnpt.vn
 5-8    25.05ms  113.171.*.*  AS45899   [VNPT-VN]         越南 岘港市 vnpt.vn
 9      26.78ms  69.194.*.*   AS23764                     * 中国 香港 电信/CTGNet
10      32.22ms  69.194.*.*                               * 中国 香港
11     175.55ms  203.22.*.*   AS23764   [CTG-CN]          * 中国 香港 163-CTG CTGNet
12-15  177.90ms  202.97.*.*   AS4134    [CHINANET-BB]     中国 上海 X-I chinatelecom.com.cn
20     183.45ms  101.226.*.*  AS4812    [CHINANET-SH]     中国 上海市 chinatelecom.cn 电信
  上海 联通    VNPT -> 163  
地理路径:越南 -> 香港 -> 上海    自治系统路径:AS45899 -> AS23764 -> AS4134 -> AS140979 
 2       0.93ms  10.132.*.*                               * RFC1918
 3       1.18ms  14.238.*.*   AS45899                     越南 河内市 vnpt.vn
 4-6    40.70ms  113.171.*.*  AS45899   [VNPT-VN]         越南 岘港市 vnpt.vn
 7-8    27.50ms  113.171.*.*  AS45899   [VNPT-VN]         中国 香港 vnpt.vn
 9      25.39ms  69.194.*.*                               * 中国 香港
10     169.57ms  203.25.*.*             [CTHKI-HK]        * 中国 香港 163-CTG 中国电信国际
11     181.07ms  203.22.*.*   AS23764   [CTG-CN]          * 中国 香港 163-CTG CTGNet
12-15  193.21ms  202.97.*.*   AS4134    [CHINANET-BB]     中国 上海 chinatelecom.com.cn
24     208.62ms  58.246.*.*   AS140979                    中国 上海市 chinaunicom.cn 联通
  上海 移动    VNPT -> 163  
地理路径:越南 -> 香港 -> 上海    自治系统路径:AS45899 -> AS23764 -> AS4134 -> AS9808 
 2       0.83ms  10.132.*.*                               * RFC1918
 3       1.25ms  222.255.*.*  AS45899   [VDC-NET]         越南 河内市 vnpt.vn
 4      31.41ms  113.171.*.*  AS45899   [VNPT-VN]         越南 河内市 vnpt.vn
 5-6    26.18ms  113.171.*.*  AS45899   [VNPT-VN]         越南 岘港市 vnpt.vn
 7      29.00ms  113.171.*.*  AS45899   [VNPT-VN]         中国 香港 vnpt.vn
 9      27.07ms  69.194.*.*   AS23764                     * 中国 香港 电信/CTGNet
10     168.95ms  203.25.*.*             [CTHKI-HK]        * 中国 香港 163-CTG 中国电信国际
11     182.59ms  203.22.*.*   AS23764   [CTG-CN]          * 中国 香港 163-CTG CTGNet
12-15  198.84ms  202.97.*.*   AS4134    [CHINANET-BB]     中国 上海 chinatelecom.com.cn
17     101.98ms  221.183.*.*  AS9808    [CMNET]           中国 上海 chinamobileltd.com 移动
20      89.75ms  117.185.*.*  AS9808    [CMNET]           中国 上海市 chinamobileltd.com 移动

广东三网回程:

  广东 电信    VNPT -> 163  
地理路径:越南 -> 香港 -> 广东    自治系统路径:AS45899 -> AS23764 -> AS4134 
 2       0.81ms  10.132.*.*                               * RFC1918
 3       1.28ms  14.238.*.*   AS45899                     越南 河内市 vnpt.vn
 4-5    41.15ms  113.171.*.*  AS45899   [VNPT-VN]         越南 岘港市 vnpt.vn
 6       2.03ms  113.171.*.*  AS45899   [VNPT-VN]         越南 河内市 vnpt.vn
 8      20.14ms  113.171.*.*  AS45899   [VNPT-VN]         中国 香港 vnpt.vn
 9      38.11ms  69.194.*.*   AS23764                     * 中国 香港 电信/CTGNet
10     169.62ms  203.25.*.*             [CTHKI-HK]        * 中国 香港 163-CTG 中国电信国际
11     176.15ms  203.22.*.*   AS23764   [CTG-CN]          * 中国 香港 163-CTG CTGNet
12-14  178.17ms  202.97.*.*   AS4134    [CHINANET-BB]     中国 广东 广州 chinatelecom.com.cn
15     180.93ms  113.96.*.*   AS4134    [CHINANET-GD]     中国 广东 广州 chinatelecom.com.cn 电信
20     184.70ms  183.47.*.*   AS4134    [APNIC-AP]        中国 广东省 广州市 chinatelecom.com.cn 电信
  广东 联通    VNPT -> 163  
地理路径:越南 -> 香港 -> 广东    自治系统路径:AS45899 -> AS23764 -> AS4134 -> AS17816 -> AS4837 -> AS136958 
 2       1.27ms  10.132.*.*                               * RFC1918
 3       1.39ms  14.238.*.*   AS45899                     越南 河内市 vnpt.vn
 4      31.95ms  113.171.*.*  AS45899   [VNPT-VN]         越南 河内市 vnpt.vn
 5-6    33.04ms  113.171.*.*  AS45899   [VNPT-VN]         越南 岘港市 vnpt.vn
 7      28.03ms  113.171.*.*  AS45899   [VNPT-VN]         中国 香港 vnpt.vn
 8-9    52.69ms  69.194.*.*   AS23764                     * 中国 香港 电信/CTGNet
10     169.11ms  203.25.*.*             [CTHKI-HK]        * 中国 香港 163-CTG 中国电信国际
12-14  175.35ms  202.97.*.*   AS4134    [CHINANET-BB]     中国 广东 广州 chinatelecom.com.cn
17     229.11ms  120.83.*.*   AS17816   [APNIC-AP]        中国 广东 广州 中国联通 联通
18     239.61ms  219.158.*.*  AS4837    [CU169-BACKBONE]  中国 广东 广州 chinaunicom.cn
24     222.07ms  157.148.*.*  AS136958  [UNICOM-GD]       中国 广东省 广州市 chinaunicom.cn 联通
  广东 移动    VNPT -> 163  
地理路径:越南 -> 香港 -> 广东    自治系统路径:AS45899 -> AS23764 -> AS4134 -> AS9808 -> AS56040 
 2       1.29ms  10.132.*.*                               * RFC1918
 3       1.47ms  222.255.*.*  AS45899   [VDC-NET]         越南 河内市 vnpt.vn
 4-5    31.69ms  113.171.*.*  AS45899   [VNPT-VN]         越南 河内市 vnpt.vn
 6      14.40ms  113.171.*.*  AS45899   [VNPT-VN]         越南 岘港市 C-I vnpt.vn
 7-9    27.95ms  113.171.*.*  AS45899   [VNPT-VN]         中国 香港 vnpt.vn
10      44.03ms  69.194.*.*   AS23764                     * 中国 香港 电信/CTGNet
11     183.25ms  203.22.*.*   AS23764   [CTG-CN]          * 中国 香港 163-CTG CTGNet
12-14  185.53ms  202.97.*.*   AS4134    [CHINANET-BB]     中国 广东 广州 chinatelecom.com.cn 电信
17      75.61ms  221.183.*.*  AS9808    [CMNET]           中国 广东 广州 chinamobileltd.com 移动
18-22   62.98ms  183.235.*.*  AS56040   [APNIC-AP]        中国 广东 广州 gd.10086.cn 移动
24      79.11ms  211.139.*.*  AS56040   [CMNET]           中国 广东 广州 gd.10086.cn 移动

电信去程:

联通去程:

移动去程:

 

7、性能

SysBench 测试:

 SysBench CPU 测试 (Fast Mode, 1-Pass @ 5sec)
---------------------------------
 1 线程测试(单核)得分:          799 Scores
 4 线程测试(多核)得分:          2982 Scores
 SysBench 内存测试 (Fast Mode, 1-Pass @ 5sec)
---------------------------------
 单线程读测试:          18299.57 MB/s
 单线程写测试:          13490.95 MB/s

Geekbench 5 Benchmark Test:

Geekbench 5 Benchmark Test:
---------------------------------
Test            | Value                         
                |                               
Single Core     | 669                           
Multi Core      | 2373                          
Full Test       | https://browser.geekbench.com/v5/cpu/24064691

fio Disk Speed Tests:

fio Disk Speed Tests (Mixed R/W 50/50) (Partition -):
---------------------------------
Block Size | 4k            (IOPS) | 64k           (IOPS)
  ------   | ---            ----  | ----           ---- 
Read       | 103.85 MB/s  (25.9k) | 891.58 MB/s  (13.9k)
Write      | 104.12 MB/s  (26.0k) | 896.27 MB/s  (14.0k)
Total      | 207.97 MB/s  (51.9k) | 1.78 GB/s    (27.9k)
           |                      |                     
Block Size | 512k          (IOPS) | 1m            (IOPS)
  ------   | ---            ----  | ----           ---- 
Read       | 1.42 GB/s     (2.7k) | 1.31 GB/s     (1.2k)
Write      | 1.50 GB/s     (2.9k) | 1.40 GB/s     (1.3k)
Total      | 2.93 GB/s     (5.7k) | 2.71 GB/s     (2.6k)

8、最后

IP为越南原生IP,质量还不错。不过没有优化线路。建议落地使用~

网络情况,

三网回程:

电信 VNPT -> 163,地理路径越南 -> 香港 -> 内地


北京联通Cogent -> 4837,地理路径越南 -> 印度 -> 美国 -> 北京

上海 联通 VNPT -> 163,地理路径越南 -> 香港 -> 上海

广东 联通 VNPT -> 163,越南 -> 香港 -> 广东


北京 移动 VNPT -> 163,地理路径:越南 -> 香港 -> 北京

上海 移动 VNPT -> 163,地理路径:越南 -> 香港 -> 上海

广东 移动 VNPT -> 163,地理路径:越南 -> 香港 -> 广东

五、三网回程路由(线路可能随网络负载动态变化)
北京TCP:电信     VNPT->163    || 联通   Cogent->4837   || 移动     VNPT->163   
北京UDP:电信     VNPT->163    || 联通   Cogent->4837   || 移动     VNPT->163   
上海TCP:电信     VNPT->163    || 联通     VNPT->163    || 移动     VNPT->163   
上海UDP:电信     VNPT->163    || 联通     VNPT->163    || 移动     VNPT->163   
广州TCP:电信     VNPT->163    || 联通     VNPT->163    || 移动     VNPT->163   
广州UDP:电信     VNPT->163    || 联通     VNPT->163    || 移动     VNPT->163

相关文章