Evoxt美国纽约VPS测评数据分享

EVOXT提供AMD高性能处理器+NVMe硬盘,1Gbps大带宽,1*IPv4+1*IPv6双栈,支持每周备份,支持Windows server 2012/2016/2022。目前该商家在欧洲已有德国、英国、波兰以及荷兰数据中心的VPS,宿主机为AMD EPYC 9004高端硬件,最低配2.99美元/月起。这篇笔记就来测评该商家的美国纽约VPS,分享下最新的测评数据~

evoxt:马来西亚1Gbps带宽VPS,$2.99/月,1核/512M内存/5G SSD/1Gbps@500G流量

 

1、官网

官方网站:https://evoxt.com/

 

2、纽约VPS套餐

AMD高性能处理器+NVMe硬盘,1Gbps大带宽,1*IPv4+1*IPv6双栈,支持每周备份,支持Windows server 2012/2016/2022

Tips:标注红色文字套餐为今天的测评机器。

CPU 内存 NVMe 带宽/月流量 月付 购买
1核 512M 5G 1Gbps/500G $2.99 链接
1核 1G 10G 1Gbps/750G $4.99 链接
1核 2G 20G 1Gbps/1T $5.99 链接
2核 2G 20G 1Gbps/1.5T $6.95 链接
2核 4G 30G 1Gbps/2T $11.99 链接
4核 4G 30G 1Gbps/3T $14.99 链接
4核 8G 60G 1Gbps/4T $23.99 链接
8核 8G 60G 1Gbps/5T $29.99 链接
8核 16G 80G 1Gbps/6T $47.99 链接
16核 16G 80G 1Gbps/8T $60.95 链接
16核 32G 100G 1Gbps/10T $95.99 链接

 

3、基本参数

Basic System Information:
---------------------------------
Uptime     : 0 days, 0 hours, 19 minutes
Processor  : AMD EPYC-Milan Processor
CPU cores  : 1 @ 4291.920 MHz
AES-NI     : ✔ Enabled
VM-x/AMD-V : ❌ Disabled
RAM        : 457.8 MiB
Swap       : 1.0 GiB
Disk       : 5.0 GiB
Distro     : Debian GNU/Linux 12 (bookworm)
Kernel     : 6.1.0-9-amd64
VM Type    : KVM
IPv4/IPv6  : ✔ Online / ✔ Online

IPv6 Network Information:
---------------------------------
ISP        : Evoxt Enterprise
ASN        : AS149440 Evoxt Enterprise
Host       : Evoxtv6
Location   : New York, New York (NY)
Country    : United States

4、IP测试

IP质量测试(ipv4):

IP质量测试(ipv6):

5、网络测试

Speedtest:

iperf3 Network Speed Tests:

iperf3 Network Speed Tests (IPv4):
---------------------------------
Provider        | Location (Link)           | Send Speed      | Recv Speed      | Ping           
-----           | -----                     | ----            | ----            | ----           
Clouvider       | London, UK (10G)          | 1.88 Gbits/sec  | 1.44 Gbits/sec  | 73.8 ms        
Eranium         | Amsterdam, NL (100G)      | 1.75 Gbits/sec  | 1.32 Gbits/sec  | 76.2 ms        
Uztelecom       | Tashkent, UZ (10G)        | busy            | 392 Mbits/sec   | 146 ms         
Leaseweb        | Singapore, SG (10G)       | 451 Mbits/sec   | 385 Mbits/sec   | 245 ms         
Clouvider       | Los Angeles, CA, US (10G) | 2.04 Gbits/sec  | 1.46 Gbits/sec  | 61.0 ms        
Leaseweb        | NYC, NY, US (10G)         | 9.33 Gbits/sec  | 9.27 Gbits/sec  | 1.59 ms        
Edgoo           | Sao Paulo, BR (1G)        | 1.15 Gbits/sec  | 897 Mbits/sec   | 110 ms         

iperf3 Network Speed Tests (IPv6):
---------------------------------
Provider        | Location (Link)           | Send Speed      | Recv Speed      | Ping           
-----           | -----                     | ----            | ----            | ----           
Clouvider       | London, UK (10G)          | 1.85 Gbits/sec  | 1.38 Gbits/sec  | 73.8 ms        
Eranium         | Amsterdam, NL (100G)      | 1.75 Gbits/sec  | 1.32 Gbits/sec  | 76.2 ms        
Uztelecom       | Tashkent, UZ (10G)        | 821 Mbits/sec   | 651 Mbits/sec   | 146 ms         
Leaseweb        | Singapore, SG (10G)       | 441 Mbits/sec   | 362 Mbits/sec   | 245 ms         
Clouvider       | Los Angeles, CA, US (10G) | 2.23 Gbits/sec  | 1.70 Gbits/sec  | 61.0 ms        
Leaseweb        | NYC, NY, US (10G)         | 9.24 Gbits/sec  | 9.11 Gbits/sec  | 1.60 ms        
Edgoo           | Sao Paulo, BR (1G)        | 1.14 Gbits/sec  | 906 Mbits/sec   | 110 ms

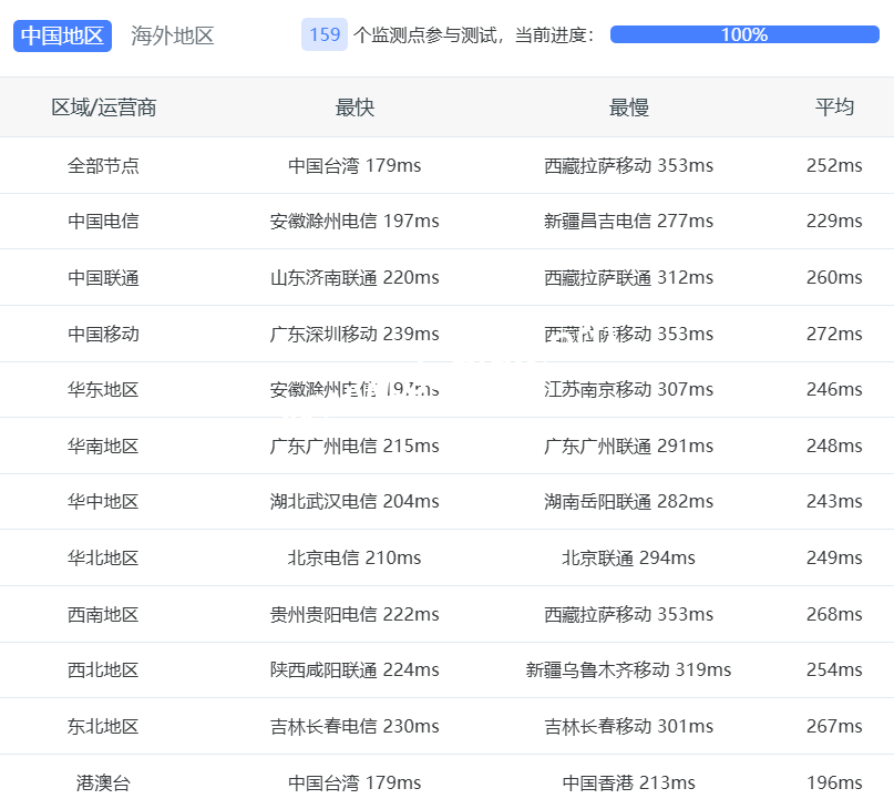
网络质量体检(ipv4):

网络质量体检(ipv6):

ping检测:

6、路由

三网回程(ipv4)

五、三网回程路由(线路可能随网络负载动态变化)
  北京 电信    Arelion -> 163  
地理路径:美国 -> 北京    自治系统路径:AS18450 -> AS1299 -> AS4134 -> AS4847 
 1       0.38ms  173.231.*.*  AS18450   [WEBNX-BLK]       美国 加利福尼亚 洛杉矶 WebNX.com
 2       1.52ms  64.185.*.*   AS18450                     美国 纽约州 纽约 WebNX.com
 3-4     0.29ms  213.248.*.*  AS1299    [TELIANET]        美国 纽约 纽约 arelion.com
 5-6    65.82ms  62.115.*.*   AS1299    [ARELION-NET]     美国 伊利诺伊 芝加哥 arelion.com
 7      65.09ms  62.115.*.*   AS1299    [ARELION-NET]     新加坡 arelion.com
 8      68.96ms  62.115.*.*   AS1299    [ARELION-NET]     美国 加利福尼亚 圣何塞 arelion.com
 9-11   65.94ms  218.30.*.*   AS4134    [CHINANET-US]     美国 加利福尼亚 圣何塞 Cogent/Telia-CT-PoP chinatelecom.com.cn 电信
12-14  212.99ms  202.97.*.*   AS4134    [CHINANET-BB]     中国 北京 chinatelecom.com.cn 电信
15     215.70ms  36.112.*.*   AS4847                      中国 北京 bj.189.cn
16-17  221.92ms  219.141.*.*  AS4847    [CHINATELECOM-BJ] 中国 北京 bj.189.cn
18     216.84ms  219.141.*.*  AS4847    [CHINATELECOM-BJ] 中国 北京 bj.189.cn
  北京 联通    Arelion -> 4837  
地理路径:美国 -> 荷兰 -> 法国 -> 德国 -> 北京    自治系统路径:AS18450 -> AS1299 -> AS4837 -> AS4808 
 1       0.40ms  173.231.*.*  AS18450   [WEBNX-BLK]       美国 加利福尼亚 洛杉矶 WebNX.com
 2-3     0.21ms  64.185.*.*   AS18450                     美国 纽约州 纽约 WebNX.com
 4       1.15ms  62.115.*.*   AS1299    [ARELION-NET]     美国 纽约 纽约 arelion.com
 5       1.29ms  62.115.*.*   AS1299    [ARELION-NET]     美国 新泽西州 纽瓦克 arelion.com
 6      89.83ms  62.115.*.*   AS1299    [ARELION-NET]     荷兰 北荷兰省 阿姆斯特丹 arelion.com
 7      76.39ms  62.115.*.*   AS1299    [ARELION-NET]     法国 法兰西岛大区 巴黎 arelion.com
 8-9    84.35ms  62.115.*.*   AS1299    [ARELION-NET]     德国 黑森州 美因河畔法兰克福 arelion.com
10     202.06ms  219.158.*.*  AS4837    [CU169-BACKBONE]  德国 黑森 美因河畔法兰克福 chinaunicom.cn 联通
11     205.31ms  219.158.*.*  AS4837    [CU169-BACKBONE]  中国 北京 X-I chinaunicom.cn 联通
12     293.13ms  219.158.*.*  AS4837    [CU169-BACKBONE]  中国 广东 广州 chinaunicom.cn 联通
14     284.28ms  125.33.*.*   AS4808    [UNICOM-BJ]       中国 北京 www.bbn.com.cn 联通
15     267.24ms  61.148.*.*   AS4808    [UNICOM-CN]       中国 北京 www.bbn.com.cn
18     212.60ms  221.222.*.*  AS4808    [UNICOM-BJ]       中国 北京 海淀 www.bbn.com.cn
  北京 移动    Level3 -> CMI  
地理路径:美国 -> 北京    自治系统路径:AS18450 -> AS3356 -> AS58453 -> AS9808 -> AS56048 
 1       0.33ms  173.231.*.*  AS18450   [WEBNX-BLK]       美国 加利福尼亚 洛杉矶 WebNX.com
 2       0.23ms  64.185.*.*   AS18450                     美国 纽约州 纽约 WebNX.com
 3-4     0.78ms  64.159.*.*   AS3356                      美国 纽约 纽约 lumen.com
 5      67.28ms  4.68.*.*     AS3356                      美国 加利福尼亚 洛杉矶 lumen.com
 6-7    66.95ms  223.120.*.*  AS58453   [CMI-INT]         美国 加利福尼亚 洛杉矶 cmi.chinamobile.com 移动
 8-10  249.64ms  221.183.*.*  AS9808    [CMNET]           中国 北京 X-I chinamobileltd.com 移动
13-15  253.97ms  211.136.*.*  AS56048   [CMNET]           中国 北京 bj.10086.cn 移动
17     254.01ms  211.136.*.*  AS56048   [CMNET]           中国 北京 bj.10086.cn 移动
  上海 电信    Arelion -> 163  
地理路径:美国 -> 上海    自治系统路径:AS18450 -> AS1299 -> AS4134 -> AS4812 
 1       0.38ms  173.231.*.*  AS18450   [WEBNX-BLK]       美国 加利福尼亚 洛杉矶 WebNX.com
 2-3     1.49ms  64.185.*.*   AS18450                     美国 纽约州 纽约 WebNX.com
 4       0.35ms  213.248.*.*  AS1299    [TELIANET]        美国 纽约 纽约 arelion.com
 5-6    65.74ms  62.115.*.*   AS1299    [ARELION-NET]     美国 伊利诺伊 芝加哥 arelion.com
 7      65.21ms  62.115.*.*   AS1299    [ARELION-NET]     新加坡 arelion.com
 8      69.29ms  62.115.*.*   AS1299    [ARELION-NET]     美国 加利福尼亚 圣何塞 arelion.com
 9-11  121.25ms  218.30.*.*   AS4134    [CHINANET-US]     美国 加利福尼亚 圣何塞 Cogent/Telia-CT-PoP chinatelecom.com.cn 电信
12-14  206.65ms  202.97.*.*   AS4134    [CHINANET-BB]     中国 上海 chinatelecom.com.cn 电信
19     202.81ms  101.226.*.*  AS4812    [CHINANET-SH]     中国 上海市 chinatelecom.cn 电信
  上海 联通    Arelion -> 4837  
地理路径:美国 -> 北京 -> 上海    自治系统路径:AS18450 -> AS1299 -> AS4837 -> AS140979 
 1       0.49ms  173.231.*.*  AS18450   [WEBNX-BLK]       美国 加利福尼亚 洛杉矶 WebNX.com
 2       1.34ms  64.185.*.*   AS18450                     美国 纽约州 纽约 WebNX.com
 3-4     0.49ms  213.248.*.*  AS1299    [TELIANET]        美国 纽约 纽约 arelion.com
 5       6.16ms  62.115.*.*   AS1299    [ARELION-NET]     美国 弗吉尼亚 阿什本 arelion.com
 6-7    61.71ms  62.115.*.*   AS1299    [ARELION-NET]     美国 加利福尼亚 洛杉矶 arelion.com
 8      63.48ms  62.115.*.*   AS1299    [ARELION-NET]     美国 德克萨斯 达拉斯 arelion.com
10-13  205.82ms  80.239.*.*   AS1299                      美国 加利福尼亚 洛杉矶 arelion.com
14-16  233.25ms  219.158.*.*  AS4837    [CU169-BACKBONE]  中国 北京 chinaunicom.cn
20     234.74ms  58.246.*.*   AS140979                    中国 上海市 chinaunicom.cn 联通
  上海 移动    Level3 -> CMI  
地理路径:美国 -> 上海    自治系统路径:AS18450 -> AS3356 -> AS58453 -> AS9808 
 1       0.56ms  173.231.*.*  AS18450   [WEBNX-BLK]       美国 加利福尼亚 洛杉矶 WebNX.com
 2-3     0.24ms  64.185.*.*   AS18450                     美国 纽约州 纽约 WebNX.com
 4      10.10ms  64.159.*.*   AS3356                      美国 纽约 纽约 lumen.com
 5      64.09ms  4.69.*.*     AS3356                      美国 华盛顿 西雅图 lumen.com
 6-7    73.16ms  223.120.*.*  AS58453   [CMI-INT]         美国 华盛顿州 西雅图 cmi.chinamobile.com 移动
 8     257.34ms  223.120.*.*  AS58453   [CMI-INT]         中国 上海 cmi.chinamobile.com 移动
 9-11  260.43ms  221.183.*.*  AS9808    [CMNET]           中国 上海 I-C chinamobileltd.com 移动
14     269.07ms  117.185.*.*  AS9808    [CMNET]           中国 上海市 chinamobileltd.com 移动
  广东 电信    Arelion -> 163  
地理路径:美国 -> 广东    自治系统路径:AS18450 -> AS1299 -> AS4134 
 1       0.43ms  173.231.*.*  AS18450   [WEBNX-BLK]       美国 加利福尼亚 洛杉矶 WebNX.com
 2-3     1.37ms  64.185.*.*   AS18450                     美国 纽约州 纽约 WebNX.com
 4       0.49ms  213.248.*.*  AS1299    [TELIANET]        美国 纽约 纽约 arelion.com
 5      71.99ms  62.115.*.*   AS1299    [ARELION-NET]     美国 伊利诺伊 芝加哥 arelion.com
 6-7    65.24ms  62.115.*.*   AS1299    [ARELION-NET]     新加坡 arelion.com
 8-9    69.48ms  62.115.*.*   AS1299    [ARELION-NET]     美国 加利福尼亚 圣何塞 arelion.com
10-11   81.07ms  218.30.*.*   AS4134    [CHINANET-US]     美国 加利福尼亚 圣何塞 Cogent/Telia-CT-PoP chinatelecom.com.cn 电信
12     214.78ms  202.97.*.*   AS4134    [CHINANET-BB]     中国 广东 广州 chinatelecom.com.cn 电信
13-15  248.71ms  113.96.*.*   AS4134    [CHINANET-GD]     中国 广东 广州 chinatelecom.com.cn 电信
19     223.89ms  183.47.*.*   AS4134    [APNIC-AP]        中国 广东省 广州市 chinatelecom.com.cn 电信
  广东 联通    Arelion -> 4837  
地理路径:美国 -> 北京 -> 广东    自治系统路径:AS18450 -> AS1299 -> AS4837 -> AS136958 
 1       0.38ms  173.231.*.*  AS18450   [WEBNX-BLK]       美国 加利福尼亚 洛杉矶 WebNX.com
 2       1.48ms  64.185.*.*   AS18450                     美国 纽约州 纽约 WebNX.com
 3-4     0.39ms  213.248.*.*  AS1299    [TELIANET]        美国 纽约 纽约 arelion.com
 5       6.67ms  62.115.*.*   AS1299    [ARELION-NET]     瑞典 斯德哥尔摩省 斯德哥尔摩 arelion.com
 6-7    62.03ms  62.115.*.*   AS1299    [ARELION-NET]     美国 加利福尼亚 洛杉矶 arelion.com
 8      62.43ms  62.115.*.*   AS1299    [ARELION-NET]     美国 德克萨斯 达拉斯 arelion.com
 9     205.63ms  80.239.*.*   AS1299                      美国 加利福尼亚 洛杉矶 arelion.com
14     227.63ms  219.158.*.*  AS4837    [CU169-BACKBONE]  中国 北京 chinaunicom.cn 联通
20     239.90ms  157.148.*.*  AS136958  [UNICOM-GD]       中国 广东省 广州市 chinaunicom.cn 联通
  广东 移动    Level3 -> CMI  
地理路径:美国 -> 德国 -> 香港 -> 广东    自治系统路径:AS18450 -> AS3356 -> AS58453 -> AS9808 -> AS56040 
 1       0.45ms  173.231.*.*  AS18450   [WEBNX-BLK]       美国 加利福尼亚 洛杉矶 WebNX.com
 2-3     0.31ms  64.185.*.*   AS18450                     美国 纽约州 纽约 WebNX.com
 4       2.70ms  64.159.*.*   AS3356                      美国 纽约 纽约 lumen.com
 5-6    83.98ms  4.68.*.*     AS3356                      德国 黑森 美因河畔法兰克福 lumen.com
 7     231.51ms  223.120.*.*  AS58453   [CMI-INT]         中国 香港 cmi.chinamobile.com 移动
 8-10  237.09ms  221.183.*.*  AS9808    [CMNET]           中国 广东 广州 I-C chinamobileltd.com 移动
11     278.64ms  211.136.*.*  AS56040   [CMNET]           中国 广东 深圳 gd.10086.cn 移动
12-14  295.32ms  183.235.*.*  AS56040   [APNIC-AP]        中国 广东 广州 gd.10086.cn 移动
17     300.25ms  211.139.*.*  AS56040   [CMNET]           中国 广东 广州 gd.10086.cn 移动

电信去程:

联通去程:

 

移动去程:

三网回程(ipv6)

北京 电信    Level3 -> 163  
地理路径:美国 -> 北京    自治系统路径:AS149440 -> AS18450 -> AS3356 -> AS4134 -> AS23724 
 1       0.80ms  2400:8d60:7:*:*:*:*:*      AS149440  美国 纽约州 纽约 evoxt.com
 2       0.22ms  2607:f2d8:2000:*:*:*:*:*   AS18450   美国 纽约州 纽约 WebNX.com
 3       1.12ms  2001:1900:2100:*:*:*:*:*   AS3356    美国 纽约 纽约 lumen.com
 4      68.13ms  2001:1900::*:*:*:*:*       AS3356    美国 加利福尼亚 圣何塞 Level3-CT-PoP lumen.com
 5      12.47ms  2605:9d80:8021:*:*:*:*:*   AS4134    美国 弗吉尼亚州 阿什本 chinatelecom.com.cn 电信
 6-8   206.40ms  240e:0:a:*:*:*:*:*         AS4134    中国 北京 chinatelecom.com.cn 电信
 9-12  214.04ms  240e:0:9000:*:*:*:*:*      AS23724   中国 北京 bjtelecom.net 电信
13     213.89ms  240e:904:800:*:*:*:*:*     AS23724   中国 北京市 bjtelecom.net 电信
  北京 联通    Zayo -> 4837  
地理路径:美国 -> 北京    自治系统路径:AS149440 -> AS18450 -> AS3356 -> AS6461 -> AS4837 -> AS4808 
 1       0.74ms  2400:8d60:7:*:*:*:*:*      AS149440  美国 纽约州 纽约 evoxt.com
 2       2.05ms  2607:f2d8:2000:*:*:*:*:*   AS18450   美国 纽约州 纽约 WebNX.com
 3       1.64ms  2001:1900:2100:*:*:*:*:*   AS3356    美国 纽约 纽约 lumen.com
 4      62.28ms  2001:438:ffff:*:*:*:*:*    AS6461    美国 加利福尼亚 洛杉矶 zayo.com
 7     249.35ms  2408:8000:2:*:*:*:*:*      AS4837    中国 北京 chinaunicom.cn 联通
 9-10  233.88ms  2408:8000:1100:*:*:*:*:*   AS4808    中国 北京 www.bbn.com.cn 联通
12     233.37ms  2408:8706:0:*:*:*:*:*      AS4808    中国 北京市 www.bbn.com.cn 联通
  北京 移动    AS18450 -> CMI  
地理路径:美国 -> 香港 -> 广东 -> 北京    自治系统路径:AS149440 -> AS18450 -> AS58453 -> AS9808 
 1       1.05ms  2400:8d60:7:*:*:*:*:*      AS149440  美国 纽约州 纽约 evoxt.com
 2-3     0.32ms  2607:f2d8:2000:*:*:*:*:*   AS18450   美国 纽约州 纽约 WebNX.com
 6     226.28ms  2402:4f00:1000:*:*:*:*:*   AS58453   中国 香港 cmi.chinamobile.com
 7-10  217.33ms  2409:8080:0:*:*:*:*:*      AS9808    中国 广东 广州 chinamobileltd.com 移动
11-13  254.94ms  2409:8080:0:*:*:*:*:*      AS9808    中国 北京市 chinamobileltd.com 移动
14     253.74ms  2409:8c00:7821:*:*:*:*:*   AS9808    中国 北京市 chinamobileltd.com 移动
  上海 电信    Level3 -> 163  
地理路径:美国 -> 上海    自治系统路径:AS149440 -> AS18450 -> AS3356 -> AS4134 -> AS4812 
 1       0.80ms  2400:8d60:7:*:*:*:*:*      AS149440  美国 纽约州 纽约 evoxt.com
 2       1.09ms  2607:f2d8:2000:*:*:*:*:*   AS18450   美国 纽约州 纽约 WebNX.com
 3       1.13ms  2001:1900:2100:*:*:*:*:*   AS3356    美国 纽约 纽约 lumen.com
 4      67.47ms  2001:1900::*:*:*:*:*       AS3356    美国 加利福尼亚 圣何塞 Level3-CT-PoP lumen.com
 5      11.03ms  2605:9d80:8021:*:*:*:*:*   AS4134    美国 弗吉尼亚州 阿什本 chinatelecom.com.cn 电信
 6-9   199.56ms  240e:0:a:*:*:*:*:*         AS4134    中国 上海 chinatelecom.com.cn 电信
10-12  210.47ms  240e:18:10:*:*:*:*:*       AS4812    中国 上海 chinatelecom.cn
13     202.08ms  240e:96c:6000:*:*:*:*:*    AS4812    中国 上海市 chinatelecom.cn 电信
  上海 联通    TATA -> 4837  
地理路径:美国 -> 江苏 -> 北京    自治系统路径:AS149440 -> AS18450 -> AS6453 -> AS4837 
 1       1.18ms  2400:8d60:7:*:*:*:*:*      AS149440  美国 纽约州 纽约 evoxt.com
 2       0.35ms  2607:f2d8:2000:*:*:*:*:*   AS18450   美国 纽约州 纽约 WebNX.com
 3       0.54ms  2001:5a0:400:*:*:*:*:*     AS6453    美国 纽约 纽约 tatacommunications.com
 4-5     5.77ms  2001:5a0:4500:*:*:*:*:*    AS6453    美国 新泽西州 纽瓦克 tatacommunications.com
 7-8    21.09ms  2001:5a0:4201:*:*:*:*:*    AS6453    美国 伊利诺伊 芝加哥 tatacommunications.com
 9      64.47ms  2001:5a0:3e02:*:*:*:*:*    AS6453    美国 加利福尼亚 圣何塞 tatacommunications.com
10     259.94ms  2408:8000:a009:*:*:*:*:*   AS4837    中国 江苏 泰州 chinaunicom.cn
11-12  260.41ms  2408:8000:2:*:*:*:*:*      AS4837    中国 北京 chinaunicom.cn 联通
13     266.00ms  2408:8000:2:*:*:*:*:*      AS4837    中国 北京 chinaunicom.cn 联通
  上海 移动    AS18450 -> CMI  
地理路径:美国 -> 上海    自治系统路径:AS149440 -> AS18450 -> AS58453 -> AS9808 
 1       0.89ms  2400:8d60:7:*:*:*:*:*      AS149440  美国 纽约州 纽约 evoxt.com
 2-3     0.38ms  2607:f2d8:2000:*:*:*:*:*   AS18450   美国 纽约州 纽约 WebNX.com
 4      61.47ms  2001:504:1:*:*:*:*:*       AS58453   美国 纽约州 纽约 NYIIX New York - China Mobile International - 100Gbps cmi.chinamobile.com
 6     264.95ms  2402:4f00:1000:*:*:*:*:*   AS58453   中国 上海 cmi.chinamobile.com 移动
 7     245.67ms  2402:4f00:1000:*:*:*:*:*   AS58453   中国 香港 cmi.chinamobile.com
 8-12  254.12ms  2409:8080:0:*:*:*:*:*      AS9808    中国 上海 chinamobileltd.com 移动
14     249.56ms  2409:8c1e:68e0:*:*:*:*:*   AS9808    中国 上海市 chinamobileltd.com 移动
  广东 电信    Level3 -> 163  
地理路径:美国 -> 广东    自治系统路径:AS149440 -> AS18450 -> AS3356 -> AS4134 -> AS4816 
 1       1.14ms  2400:8d60:7:*:*:*:*:*      AS149440  美国 纽约州 纽约 evoxt.com
 2       0.29ms  2607:f2d8:2000:*:*:*:*:*   AS18450   美国 纽约州 纽约 WebNX.com
 3       1.32ms  2001:1900:2100:*:*:*:*:*   AS3356    美国 纽约 纽约 lumen.com
 4      88.95ms  2001:1900::*:*:*:*:*       AS3356    美国 加利福尼亚 圣何塞 Level3-CT-PoP lumen.com
 6-8   213.13ms  240e:0:a:*:*:*:*:*         AS4134    中国 广东 广州 chinatelecom.com.cn 电信
 9-11  219.54ms  240e:1f:6000:*:*:*:*:*     AS4816    中国 广东 深圳 电信
13     217.21ms  240e:97c:4008:*:*:*:*:*    AS4816    中国 广东省 深圳市 电信
  广东 联通    TATA -> 4837  
地理路径:美国 -> 广东    自治系统路径:AS149440 -> AS18450 -> AS6453 -> AS4837 -> AS6453 -> AS135061 -> AS17623 -> AS4837 -> AS135061 
 1       0.92ms  2400:8d60:7:*:*:*:*:*      AS149440  美国 纽约州 纽约 evoxt.com
 2       0.32ms  2607:f2d8:2000:*:*:*:*:*   AS18450   美国 纽约州 纽约 WebNX.com
 3       0.42ms  2001:5a0:400:*:*:*:*:*     AS6453    美国 纽约 纽约 tatacommunications.com
 4-5     5.70ms  2001:5a0:4500:*:*:*:*:*    AS6453    美国 新泽西州 纽瓦克 tatacommunications.com
 6     207.37ms  2408:8000:2:*:*:*:*:*      AS4837    中国 北京 chinaunicom.cn 联通
 7-8    21.68ms  2001:5a0:4201:*:*:*:*:*    AS6453    美国 伊利诺伊 芝加哥 tatacommunications.com
 9      65.03ms  2001:5a0:3e02:*:*:*:*:*    AS6453    美国 加利福尼亚 圣何塞 tatacommunications.com
10     276.60ms  2408:8001:3171:*:*:*:*:*   AS135061  中国 广东省 深圳市 chinaunicom.cn 联通
11     243.78ms  2408:8001:3071:*:*:*:*:*   AS17623   中国 广东 深圳 chinaunicom.cn
13     240.73ms  2408:8756:2cef:*:*:*:*:*   AS135061  中国 广东省 深圳市 chinaunicom.cn 联通
  广东 移动    AS18450 -> CMI  
地理路径:美国 -> 香港 -> 广东    自治系统路径:AS149440 -> AS18450 -> AS58453 -> AS9808 -> AS56040 -> AS9808 
 1       0.82ms  2400:8d60:7:*:*:*:*:*      AS149440  美国 纽约州 纽约 evoxt.com
 2-3     0.76ms  2607:f2d8:2000:*:*:*:*:*   AS18450   美国 纽约州 纽约 WebNX.com
 6     234.43ms  2402:4f00:1000:*:*:*:*:*   AS58453   中国 香港 cmi.chinamobile.com
 7-10  213.93ms  2409:8080:0:*:*:*:*:*      AS9808    中国 广东 广州 chinamobileltd.com 移动
11-13  278.66ms  2409:8055:3010:*:*:*:*:*   AS56040   中国 广东省 深圳市 gd.10086.cn 移动
14     263.45ms  2409:8c54:1000:*:*:*:*:*   AS9808    中国 广东省 深圳市 chinamobileltd.com 移动
================================================================================

 

7、性能

SysBench 测试:

 SysBench CPU 测试 (Fast Mode, 1-Pass @ 5sec)
---------------------------------
 1 线程测试(单核)得分:          6289 Scores
 SysBench 内存测试 (Fast Mode, 1-Pass @ 5sec)
---------------------------------
 单线程读测试:          96400.43 MB/s
 单线程写测试:          36329.72 MB/s

Geekbench 5 Benchmark Test:

Geekbench 5 Benchmark Test:
---------------------------------
Test            | Value                         
                |                               
Single Core     | 1919                          
Multi Core      | 2060                          
Full Test       | https://browser.geekbench.com/v5/cpu/24038112

fio Disk Speed Tests

fio Disk Speed Tests (Mixed R/W 50/50) (Partition /dev/vda1):
---------------------------------
Block Size | 4k            (IOPS) | 64k           (IOPS)
  ------   | ---            ----  | ----           ---- 
Read       | 174.37 MB/s  (43.5k) | 1.41 GB/s    (22.1k)
Write      | 174.83 MB/s  (43.7k) | 1.42 GB/s    (22.2k)
Total      | 349.20 MB/s  (87.3k) | 2.84 GB/s    (44.4k)
           |                      |                     
Block Size | 512k          (IOPS) | 1m            (IOPS)
  ------   | ---            ----  | ----           ---- 
Read       | 1.42 GB/s     (2.7k) | 1.44 GB/s     (1.4k)
Write      | 1.49 GB/s     (2.9k) | 1.54 GB/s     (1.5k)
Total      | 2.91 GB/s     (5.7k) | 2.99 GB/s     (2.9k)

8、最后

测试的IP为原生IP,IPv6为广播IP。原生IP解锁能力不错。

网络情况:

电信回程国际线路arelion直连国内。

联通回程Arelion -> 4837(北京联通绕欧洲回国,上海和广东联通直连回国。)

移动回程Level3 -> CMI(美国直连回国)

电信去程,电信163直连美西之后接驳ntt去往纽约

联通去程,联通骨干线路直连美西之后接驳tata去往纽约

移动去程,移动cmi,从香港走tata先去日本之后去往美西再往美东。

三网回程路由(ipv4)

五、三网回程路由(线路可能随网络负载动态变化)
北京TCP:电信  Arelion->163    || 联通  Arelion->4837   || 移动   Level3->CMI   
北京UDP:电信  Arelion->163    || 联通  Arelion->4837   || 移动   Level3->CMI   
上海TCP:电信  Arelion->163    || 联通  Arelion->4837   || 移动   Level3->CMI   
上海UDP:电信  Arelion->163    || 联通  Arelion->4837   || 移动   Level3->CMI   
广州TCP:电信  Arelion->163    || 联通  Arelion->4837   || 移动   Level3->CMI   
广州UDP:电信  Arelion->163    || 联通  Arelion->4837   || 移动   Level3->CMI

网回程路由(ipv6)

五、三网回程路由(线路可能随网络负载动态变化)
北京TCP:电信   Level3->163    || 联通     Zayo->4837   || 移动  AS18450->CMI   
北京UDP:电信   Level3->163    || 联通     Zayo->4837   || 移动  AS18450->CMI   
上海TCP:电信   Level3->163    || 联通     TATA->4837   || 移动  AS18450->CMI   
上海UDP:电信   Level3->163    || 联通     TATA->4837   || 移动  AS18450->CMI   
广州TCP:电信   Level3->163    || 联通     TATA->4837   || 移动  AS18450->CMI   
广州UDP:电信   Level3->163    || 联通     TATA->4837   || 移动  AS18450->CMI

相关文章