丽萨主机(lisahost)新上架香港有线宽屏iCable双ISP原生住宅静态IP VPS套餐,CPU E5-2682 v4 @ 2.50GHz,磁盘io当前测试 672.3 MB/s,上游AS9908 HK Cable TV Ltd,不支持IPv6,经测试IP多个数据库显示为双ISP,IP纯净,可看TVB,支持Cityline票务, 解锁香港本土服务和流媒体。具体的测评数据分享看下文:

1、官网
2、香港有线宽屏iCable双ISP VPS套餐
香港有线宽屏iCable双ISP原生住宅静态IP,国际线路,高质量香港家宽纯净IP
9折优惠码 :TS-CBP205DQJE
| CPU | 内存 | 硬盘 | 带宽/月流量 | 价格 | 购买 |
|---|---|---|---|---|---|
| 1核 | 1G | 10G NVME | 100Mbps/2T | 88元/月 | 链接 |
| 1核 | 1G | 20G NVME | 150Mbps/4T | 129元/月 | 链接 |
| 2核 | 2G | 40G NVME | 200Mbps/6T | 299元/月 | 链接 |
| 4核 | 4G | 80G NVME | 300Mbps/10T | 599元/月 | 链接 |
| 2核 | 2G | 40G NVME | 100Mbps/不限 | 899元/月 | 链接 |
| 4核 | 4G | 80G NVME | 200Mbps/不限 | 1899元/月 | 链接 |
| 1核 | 1G | 10G NVME | 100Mbps/1T | 699元/年 | 链接 |
3、基本参数
CPU E5-2682 v4 @ 2.50GHz,磁盘io当前测试 672.3 MB/s,上游AS9908 HK Cable TV Ltd,不支持IPv6

4、IP测试
流媒体:

流媒体:

IP质量测试:

5、网络测试
Speedtest:

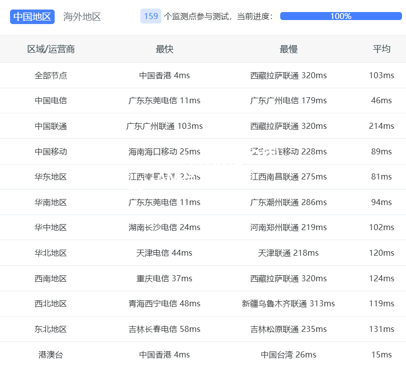
网络质量:

iperf3 Network Speed Tests (IPv4):
iperf3 Network Speed Tests (IPv4): --------------------------------- Provider | Location (Link) | Send Speed | Recv Speed | Ping ----- | ----- | ---- | ---- | ---- Clouvider | London, UK (10G) | busy | 38.4 Mbits/sec | 216 ms Eranium | Amsterdam, NL (100G) | 225 Mbits/sec | 29.2 Mbits/sec | 251 ms Uztelecom | Tashkent, UZ (10G) | 262 Mbits/sec | 153 Mbits/sec | 123 ms Leaseweb | Singapore, SG (10G) | 277 Mbits/sec | 94.1 Mbits/sec | 42.4 ms Clouvider | Los Angeles, CA, US (10G) | 211 Mbits/sec | 36.9 Mbits/sec | 164 ms Leaseweb | NYC, NY, US (10G) | 240 Mbits/sec | 40.6 Mbits/sec | 205 ms Edgoo | Sao Paulo, BR (1G) | busy | 25.5 Mbits/sec | 320 ms
ping检测:


6、路由
电信回程:
北京电信:绕美走cogent从美西圣何塞回国。
上海电信:CTG+CN2直连回内地
深圳电信:走联通169回内地
北京电信 NextTrace v1.5.0 2025-11-28T02:24:32Z 82cebb7 [NextTrace API] preferred API IP - 104.26.12.151 - 51.33ms - Misaka.HKG IP Geo Data Provider: LeoMoeAPI traceroute to 219.141.147.210, 30 hops max, 52 bytes payload, ICMP mode 1 * 2 * 3 192.168.64.64 * RFC1918 1.71 ms / 1.64 ms / 1.85 ms 4 192.168.64.30 * RFC1918 2.90 ms / 2.60 ms / 2.68 ms 5 154.18.9.105 AS174 [COGENT-BONE] 中国 香港 cogentco.com 3.66 ms / 3.63 ms / 3.95 ms 6 154.54.0.5 AS174 [COGENT-BONE] 美国 加利福尼亚 洛杉矶 cogentco.com be2327.ccr41.lax01.atlas.cogentco.com 151.50 ms / 151.19 ms / 151.03 ms 7 154.54.40.157 AS174 [COGENT-BONE] 美国 加利福尼亚 圣何塞 cogentco.com 164.56 ms / 163.19 ms / 163.73 ms 8 154.54.169.38 AS174 [COGENT-BONE] 美国 加利福尼亚 圣何塞 cogentco.com 156.69 ms / 156.09 ms / 155.92 ms 9 38.104.138.106 AS174 美国 加利福尼亚 圣克拉拉 cogentco.com 256.47 ms / 218.47 ms / 178.75 ms 10 * 11 202.97.12.53 AS4134 [CHINANET-BB] 中国 北京 chinatelecom.com.cn 电信 195.35 ms / 200.68 ms / 195.38 ms 12 202.97.34.73 AS4134 [CHINANET-BB] 中国 北京 chinatelecom.com.cn 电信 197.32 ms / * ms / * ms 13 * 14 106.120.254.2 AS4847 [CHINANET-GD] 中国 北京 bj.189.cn 199.41 ms / 199.37 ms / * ms 15 219.141.147.210 AS4847 [CHINATELECOM-BJ] 中国 北京 bj.189.cn 199.76 ms / 200.11 ms / 199.98 ms ---------------------------------------------------------------------- 上海电信 NextTrace v1.5.0 2025-11-28T02:24:32Z 82cebb7 [NextTrace API] preferred API IP - 172.67.69.163 - 51.21ms - Misaka.HKG IP Geo Data Provider: LeoMoeAPI traceroute to 202.96.209.133, 30 hops max, 52 bytes payload, ICMP mode 1 * 2 * 3 192.168.64.64 * RFC1918 1.59 ms / 1.67 ms / 20.53 ms 4 192.168.64.34 * RFC1918 2.77 ms / 2.53 ms / 2.77 ms 5 218.213.65.69 AS9293 中国 香港 hello.global.ntt 3.45 ms / 3.29 ms / 3.35 ms 6 121.59.101.29 * [CN2-BB] 中国 香港 3.88 ms / 3.87 ms / 3.91 ms 7 * 8 69.194.166.117 * 中国 香港 电信/CTGNet 4.73 ms / 4.64 ms / * ms 9 * 10 59.43.245.69 * [CN2-BackBone] 中国 上海 CN2→163 chinatelecom.cn 电信 36.61 ms / 28.91 ms / * ms 11 202.97.90.30 AS4134 [CHINANET-BB] 中国 上海 I-C chinatelecom.com.cn 电信 29.39 ms / 29.61 ms / * ms 12 202.97.50.141 AS4134 [CHINANET-BB] 中国 上海 chinatelecom.com.cn 电信 45.41 ms / 45.11 ms / 42.21 ms 13 * 14 180.169.255.122 AS4812 [CHINANET-SH] 中国 上海 chinatelecom.cn 电信 104.31 ms / 54.44 ms / * ms 15 202.96.209.133 AS4812 [CHINANET-SH] 中国 上海 chinatelecom.cn 电信 41.10 ms / 41.26 ms / 41.16 ms ---------------------------------------------------------------------- 深圳电信 NextTrace v1.5.0 2025-11-28T02:24:32Z 82cebb7 [NextTrace API] preferred API IP - 104.26.13.151 - 47.14ms - Misaka.HKG IP Geo Data Provider: LeoMoeAPI traceroute to 58.60.188.222, 30 hops max, 52 bytes payload, ICMP mode 1 * 2 10.254.8.2 * RFC1918 1.53 ms / * ms / * ms 3 192.168.64.64 * RFC1918 1.76 ms / 1.68 ms / 1.56 ms 4 192.168.64.34 * RFC1918 2.69 ms / 2.49 ms / 2.56 ms 5 218.213.65.69 AS9293 中国 香港 hello.global.ntt 4.06 ms / 3.51 ms / 3.18 ms 6 219.158.38.201 AS4837 [CU169-BACKBONE] 中国 香港 chinaunicom.cn 257.69 ms / 257.08 ms / * ms 7 * 8 219.158.103.37 AS4837 [CU169-BACKBONE] 中国 广东 广州 chinaunicom.cn 联通 265.27 ms / * ms / * ms 9 * 10 * 11 * 12 * 13 * 14 * 15 * 16 * 17 * 18 * 19 * 20 * 21 * 22 * 23 * 24 * 25 * 26 * 27 * 28 * 29 *
联通回程:联通169直连内地~
北京联通 NextTrace v1.5.0 2025-11-28T02:24:32Z 82cebb7 [NextTrace API] preferred API IP - 172.67.69.163 - 41.45ms - Misaka.HKG IP Geo Data Provider: LeoMoeAPI traceroute to 202.106.50.1, 30 hops max, 52 bytes payload, ICMP mode 1 * 2 10.254.8.2 * RFC1918 5.62 ms / 1.57 ms / 1.39 ms 3 192.168.64.64 * RFC1918 1.54 ms / 1.63 ms / 1.53 ms 4 192.168.64.30 * RFC1918 2.87 ms / 2.56 ms / 2.46 ms 5 218.213.64.69 AS9293 中国 香港 hello.global.ntt 3.47 ms / 3.43 ms / 3.52 ms 6 219.158.38.201 AS4837 [CU169-BACKBONE] 中国 香港 chinaunicom.cn 255.38 ms / * ms / * ms 7 219.158.3.189 AS4837 [CU169-BACKBONE] 中国 广东 广州 chinaunicom.cn 262.87 ms / * ms / * ms 8 219.158.4.37 AS4837 [CU169-BACKBONE] 中国 广东 广州 X-I chinaunicom.cn 联通 258.98 ms / * ms / * ms 9 * 10 * 11 * 12 202.106.50.1 AS4808 [UNICOM-BJ] 中国 北京 丰台区 www.bbn.com.cn 联通 293.67 ms / 291.34 ms / 286.99 ms ---------------------------------------------------------------------- 上海联通 NextTrace v1.5.0 2025-11-28T02:24:32Z 82cebb7 [NextTrace API] preferred API IP - 104.26.13.151 - 45.86ms - Misaka.HKG IP Geo Data Provider: LeoMoeAPI traceroute to 210.22.97.1, 30 hops max, 52 bytes payload, ICMP mode 1 * 2 10.254.8.2 * RFC1918 1.58 ms / 4.12 ms / 1.40 ms 3 192.168.64.64 * RFC1918 2.36 ms / 3.58 ms / 1.58 ms 4 192.168.64.30 * RFC1918 2.68 ms / 2.65 ms / 3.07 ms 5 218.213.64.69 AS9293 中国 香港 hello.global.ntt 3.55 ms / 3.57 ms / * ms 6 219.158.33.9 AS4837 [CU169-BACKBONE] 中国 北京 chinaunicom.cn 5.26 ms / 5.59 ms / 5.25 ms 7 219.158.6.121 AS4837 [CU169-BACKBONE] 中国 广东 广州 chinaunicom.cn 105.44 ms / 101.10 ms / * ms 8 219.158.4.101 AS4837 [CU169-BACKBONE] 中国 广东 广州 X-I chinaunicom.cn 联通 266.08 ms / 263.47 ms / * ms 9 * 10 * 11 * 12 112.64.250.202 AS17621 [APNIC-AP] 中国 上海 chinaunicom.cn 联通 283.68 ms / 272.06 ms / * ms 13 210.22.97.1 AS17621 [CNCNET-SH] 中国 上海 闵行区 chinaunicom.cn 联通 282.19 ms / 273.49 ms / 270.04 ms ---------------------------------------------------------------------- 深圳联通 NextTrace v1.5.0 2025-11-28T02:24:32Z 82cebb7 [NextTrace API] preferred API IP - 172.67.69.163 - 44.45ms - Misaka.HKG IP Geo Data Provider: LeoMoeAPI traceroute to 210.21.196.6, 30 hops max, 52 bytes payload, ICMP mode 1 10.242.248.189 * RFC1918 16.73 ms / 5.92 ms / 5.02 ms 2 * 3 192.168.64.64 * RFC1918 20.01 ms / 20.88 ms / 1.79 ms 4 192.168.64.30 * RFC1918 2.33 ms / 2.59 ms / 2.49 ms 5 218.213.64.69 AS9293 中国 香港 hello.global.ntt 3.39 ms / 3.34 ms / 3.31 ms 6 219.158.38.201 AS4837 [CU169-BACKBONE] 中国 香港 chinaunicom.cn 255.62 ms / 257.14 ms / * ms 7 219.158.3.209 AS4837 [CU169-BACKBONE] 中国 广东 广州 chinaunicom.cn 258.16 ms / 258.96 ms / * ms 8 219.158.24.137 AS4837 [CU169-BACKBONE] 中国 广东 广州 X-I chinaunicom.cn 联通 252.72 ms / * ms / * ms 9 * 10 * 11 120.80.147.254 AS17623 [APNIC-AP] 中国 广东 深圳 chinaunicom.cn 联通 105.78 ms / 104.91 ms / 106.54 ms 12 210.21.196.6 AS17623 中国 广东 深圳 宝安区 chinaunicom.cn 联通 110.04 ms / 102.32 ms / 101.36 ms
移动回程:
北京移动cmi直连内地
上海移动:绕美走cogent从美西回国。
深圳移动绕欧洲最后从英国走移动cmi回国。
北京移动 NextTrace v1.5.0 2025-11-28T02:24:32Z 82cebb7 [NextTrace API] preferred API IP - 172.67.69.163 - 44.11ms - Misaka.HKG IP Geo Data Provider: LeoMoeAPI traceroute to 221.179.155.161, 30 hops max, 52 bytes payload, ICMP mode 1 * 2 10.254.8.2 * RFC1918 1.55 ms / * ms / * ms 3 192.168.64.64 * RFC1918 1.52 ms / 1.49 ms / 1.50 ms 4 192.168.64.34 * RFC1918 2.40 ms / 2.08 ms / 2.12 ms 5 180.87.160.194 AS6453 [TATA-COMMUNICATIONS] 中国 香港 tatacommunications.com 2.30 ms / 2.04 ms / 2.09 ms 6 180.87.162.194 AS6453 [TATA-COMMUNICATIONS] 中国 香港 tatacommunications.com 2.77 ms / 3.28 ms / 3.39 ms [MPLS: Lbl 85464, TC 0, S 1, TTL 1] 7 180.87.162.27 AS6453 [TATA-COMMUNICATIONS] 中国 香港 tatacommunications.com 4.33 ms / 3.91 ms / * ms [MPLS: Lbl 0, TC 0, S 1, TTL 1] 8 * 9 223.120.2.117 AS58453 [CMI-INT] 中国 香港 cmi.chinamobile.com 移动 4.34 ms / * ms / * ms 10 223.120.22.142 AS58453 [CMI-INT] 中国 香港 cmi.chinamobile.com 移动 40.96 ms / 41.10 ms / 41.03 ms 11 221.183.55.110 AS9808 [CMNET] 中国 北京 X-I chinamobileltd.com 移动 38.54 ms / 38.51 ms / 38.44 ms 12 221.183.25.201 AS9808 [CMNET] 中国 北京 I-C chinamobileltd.com 移动 48.62 ms / * ms / * ms 13 * 14 221.183.46.174 AS9808 [CMNET] 中国 北京 chinamobileltd.com 移动 49.99 ms / 49.82 ms / 50.00 ms 15 221.183.130.134 AS9808 [CMNET] 中国 北京 chinamobileltd.com 移动 49.59 ms / 49.74 ms / 49.72 ms 16 221.179.155.161 AS56048 [CMNET] 中国 北京 bj.10086.cn 移动 43.76 ms / 43.90 ms / * ms ---------------------------------------------------------------------- 上海移动 NextTrace v1.5.0 2025-11-28T02:24:32Z 82cebb7 [NextTrace API] preferred API IP - 104.26.13.151 - 45.14ms - Misaka.HKG IP Geo Data Provider: LeoMoeAPI traceroute to 211.136.112.200, 30 hops max, 52 bytes payload, ICMP mode 1 * 2 10.254.8.2 * RFC1918 1.51 ms / 1.65 ms / 1.64 ms 3 192.168.64.64 * RFC1918 1.54 ms / 1.53 ms / 1.52 ms 4 192.168.64.30 * RFC1918 2.83 ms / 2.67 ms / 2.55 ms 5 154.18.9.105 AS174 [COGENT-BONE] 中国 香港 cogentco.com 4.17 ms / 6.05 ms / 3.72 ms 6 154.54.0.5 AS174 [COGENT-BONE] 美国 加利福尼亚 洛杉矶 cogentco.com be2327.ccr41.lax01.atlas.cogentco.com 153.48 ms / 153.77 ms / 152.94 ms 7 154.54.40.157 AS174 [COGENT-BONE] 美国 加利福尼亚 圣何塞 cogentco.com 200.14 ms / 164.34 ms / 163.98 ms 8 154.54.169.38 AS174 [COGENT-BONE] 美国 加利福尼亚 圣何塞 cogentco.com 157.39 ms / 156.53 ms / 156.05 ms 9 154.54.7.22 AS174 [COGENT-BONE] 美国 加利福尼亚 圣何塞 cogentco.com 162.72 ms / 163.31 ms / 162.65 ms 10 38.88.224.162 AS174 美国 加利福尼亚 帕洛阿尔托 / 圣何塞 cogentco.com 183.31 ms / 183.05 ms / 187.70 ms 11 223.120.6.69 AS58453 [CMI-INT] 美国 加利福尼亚 圣何塞 cmi.chinamobile.com 移动 183.15 ms / 187.70 ms / 188.28 ms 12 223.120.12.26 AS58453 [CMI-INT] 美国 加利福尼亚 圣何塞 cmi.chinamobile.com 移动 210.21 ms / 226.13 ms / 211.16 ms 13 221.183.89.174 AS9808 [CMNET] 中国 上海 X-I chinamobileltd.com 移动 212.87 ms / 217.45 ms / * ms 14 * 15 221.183.89.46 AS9808 [CMNET] 中国 上海 chinamobileltd.com 移动 228.87 ms / * ms / * ms 16 * 17 * 18 211.136.112.252 AS24400 [CMNET] 中国 上海 sh.10086.cn 移动 229.79 ms / 228.07 ms / 223.78 ms 19 211.136.112.200 AS24400 [CMNET] 中国 上海 浦东新区 sh.10086.cn 移动 229.11 ms / 224.76 ms / 224.45 ms ---------------------------------------------------------------------- 深圳移动 NextTrace v1.5.0 2025-11-28T02:24:32Z 82cebb7 [NextTrace API] preferred API IP - 172.67.69.163 - 45.84ms - Misaka.HKG IP Geo Data Provider: LeoMoeAPI traceroute to 120.196.165.24, 30 hops max, 52 bytes payload, ICMP mode 1 * 2 * 3 192.168.64.64 * RFC1918 1.54 ms / 1.59 ms / 1.77 ms 4 192.168.64.30 * RFC1918 3.02 ms / 3.15 ms / 2.65 ms 5 154.18.9.105 AS174 [COGENT-BONE] 中国 香港 cogentco.com 6.24 ms / 4.05 ms / 3.70 ms 6 154.54.0.41 AS174 [COGENT-BONE] 法国 普罗旺斯-阿尔卑斯-蓝色海岸大区 马赛 cogentco.com be2899.ccr31.mrs02.atlas.cogentco.com 171.28 ms / 170.99 ms / 170.99 ms 7 154.54.72.109 AS174 [COGENT-BONE] 法国 法兰西岛大区 巴黎 cogentco.com be2779.ccr41.par01.atlas.cogentco.com 176.37 ms / 176.50 ms / 176.43 ms 8 154.54.75.42 AS174 [COGENT-BONE] 英国 英格兰 斯劳 cogentco.com 186.21 ms / 186.00 ms / 185.90 ms 9 154.54.73.241 AS174 [COGENT-BONE] 英国 英格兰 斯劳 cogentco.com 186.02 ms / 186.05 ms / 185.94 ms 10 149.14.199.194 AS174 [COGENT-149] 英国 伯克郡 斯劳 Cogent-CMI-Peer cogentco.com 168.20 ms / 168.17 ms / 168.28 ms 11 223.120.10.197 AS58453 [CMI-INT] 英国 伯克郡 斯劳 cmi.chinamobile.com 移动 168.18 ms / 168.17 ms / 168.06 ms 12 223.120.15.54 AS58453 [CMI-INT] 英国 英格兰 伦敦 cmi.chinamobile.com 移动 190.83 ms / 190.62 ms / 189.85 ms 13 221.183.55.58 AS9808 [CMNET] 中国 广东 广州 X-I chinamobileltd.com 移动 189.69 ms / 189.93 ms / * ms 14 221.183.92.21 AS9808 [CMNET] 中国 广东 广州 I-C chinamobileltd.com 移动 188.96 ms / 188.92 ms / 188.99 ms 15 221.183.89.246 AS9808 [CMNET] 中国 广东 广州 chinamobileltd.com 移动 190.95 ms / 190.89 ms / * ms 16 221.183.71.82 AS9808 [CMNET] 中国 广东 广州 chinamobileltd.com 移动 190.98 ms / 190.91 ms / 190.93 ms 17 221.183.110.170 AS9808 [CMNET] 中国 广东 广州 chinamobileltd.com 移动 193.73 ms / * ms / * ms 18 120.196.165.24 AS56040 [APNIC-AP] 中国 广东 深圳 gd.10086.cn 移动 196.65 ms / 196.76 ms / 196.74 ms
电信去程:电信cn2线路直连香港

联通去程:联通169直连香港~

移动去程:移动cmi直连香港

7、性能
Geekbench 5 测试结果
Geekbench 5 测试结果 系统信息 Operating System Debian GNU/Linux 11 (bullseye) Kernel Linux 5.10.0-11-cloud-amd64 x86_64 Model QEMU Standard PC (i440FX + PIIX, 1996) Motherboard N/A BIOS SeaBIOS rel-1.14.0-0-g155821a1990b-prebuilt.qemu.org 处理器信息 Name Intel(R) Xeon(R) CPU E5-2682 v4 @ 2.50GHz Topology 1 Processor, 4 Cores Identifier GenuineIntel Family 6 Model 79 Stepping 1 Base Frequency 2.49 GHz L1 Instruction Cache 32.0 KB x 2 L1 Data Cache 32.0 KB x 2 L2 Cache 256 KB x 2 L3 Cache 40.0 MB 内存信息 Size 3.84 GB 单核测试分数:805 多核测试分数:3001
CPU测试等:
------------------------CPU测试--通过sysbench测试------------------------- -> CPU 测试中 (Fast Mode, 1-Pass @ 5sec) 1 线程测试(单核)得分: 933 Scores 4 线程测试(多核)得分: 3715 Scores --------------------内存测试--感谢lemonbench开源---------------------------- -> 内存测试 Test (Fast Mode, 1-Pass @ 5sec) 单线程读测试: 19567.57 MB/s 单线程写测试: 13414.76 MB/s --------------------磁盘dd读写测试--感谢lemonbench开源-------------------- -> 磁盘IO测试中 (4K Block/1M Block, Direct Mode) 测试操作 写速度 读速度 100MB-4K Block 62.8 MB/s (15.33 IOPS, 1.67s)) 81.3 MB/s (19859 IOPS, 1.29s) 1GB-1M Block 932 MB/s (889 IOPS, 1.12s) 3.4 GB/s (3201 IOPS, 0.31s) ----------------------磁盘fio读写测试--感谢yabs开源----------------------- Block Size | 4k (IOPS) | 64k (IOPS) ------ | --- ---- | ---- ---- Read | 168.58 MB/s (42.1k) | 1.65 GB/s (25.7k) Write | 169.03 MB/s (42.2k) | 1.65 GB/s (25.9k) Total | 337.62 MB/s (84.4k) | 3.31 GB/s (51.7k) | | Block Size | 512k (IOPS) | 1m (IOPS) ------ | --- ---- | ---- ---- Read | 1.65 GB/s (3.2k) | 1.65 GB/s (1.6k) Write | 1.74 GB/s (3.4k) | 1.77 GB/s (1.7k) Total | 3.40 GB/s (6.6k) | 3.42 GB/s (3.3k)
8、最后
IP为上游AS9908 HK Cable TV Ltd也就是香港有线宽屏iCable提供,IP纯净度很好,具有双ISP属性,解锁能力也很强。
网络情况:非优化线路,路由挺乱,三网部分地区均有直连,但是也有绕欧美走国际线路回国的情况,电信甚至有CN2线路。
五、三网回程路由(线路可能随网络负载动态变化) 北京TCP:电信 NoData->CN2 || 联通 AS9293->4837 || 移动 TATA->CMI 北京UDP:电信 NoData->CN2 || 联通 AS9293->4837 || 移动 TATA->CMI 上海TCP:电信 NoData->NoData || 联通 AS9293->4837 || 移动 TATA->CMI 上海UDP:电信 NoData->CN2 || 联通 AS9293->4837 || 移动 TATA->CMI 广州TCP:电信 Cogent->163 || 联通 AS9293->4837 || 移动 Cogent->CMI 广州UDP:电信 Cogent->163 || 联通 AS9293->4837 || 移动 Cogent->CMI